В Японии запатентовали плавающий автомобиль

Yamaha известна как производитель мототехники, лодок и снегоходов, однако сейчас японцы, похоже, приняли решение открыть для себя новые горизонты.

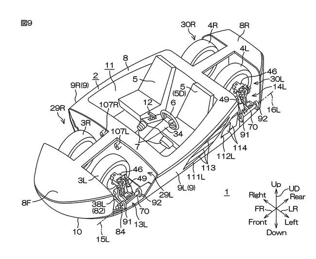
Компания Yamaha зарегистрировала в Японии проект машины-амфибии. В документе обозначено, что речь идёт о четырёхколёсном транспортном средстве с возможностью перемещения по суше и по воде.

Судя по общедоступным схематичным изображениям, японская водоходная машина больше напоминает катер.

Yamaha работает над автомобилем-амфибией

Кузов автомобиля будет больше похож на лодку, чем на автомобиль, а колёсные арки будут на все 100% закрываться особыми крышками для уменьшения сопротивления при движении по воде. Колеса должны убираться в «тело» амфибии, и тогда машина превращается в мини-яхту.

На схеме автомобиля-амфибии Yamaha движитель не показан. Основной особенностью концептов Yamaha является технология iStream, предполагающая лёгкое изменение размеров платформы и замену кузовных панелей.

В хорошем качестве hd видео

Смотреть видео онлайн